The forest fire monitoring station should consist of five parts: meteorological sensors, collectors, solar power supply system, pole supports, and cloud platforms. No debugging required, can be quickly deployed, widely used in fields such as meteorology, agriculture, forestry, environmental protection, oceanography, airports, ports, scientific research, campus education, etc.
1.Forest Fire Monitoring Station Product Introduction
Forest fire is the enemy of forest ecosystem. It can burn a large area of forest and a large amount of forest by-products in a short period of time, destroy forest structure and forest environment, destroy the ecological balance of nature, and cause climate imbalance, soil erosion, river siltation, flooding or water source depletion. By monitoring the wind speed and direction, air temperature, relative humidity, solar radiation and other meteorological factors in areas prone to forest fires, we can prevent the occurrence of forest fires. When a fire occurs, we can also guide the staff to carry out rapid and reasonable firefighting work to minimize property losses.
The equipment consists of five parts: meteorological sensor, collector, solar power supply system, pole bracket and cloud platform. It is debugging-free and can be quickly deployed. It is widely used in meteorology, agriculture, forestry, environmental protection, ocean, airport, port, scientific investigation, campus education and other fields.
2. Forest Fire Monitoring Station Product Features
1. Low power collector: static power consumption is less than 50uA
2. Standard GPRS networking, support for extended Bluetooth and wired transmission
3. 7-inch Android touch screen, version: 4.4.2, quad-core Cortex?-A7, 512M/4G
4. Support modbus485 sensor expansion
5. Solar charging management MPPT automatic power point tracking
6. Three-meter carbon steel bracket, two sections of flange butt joint
7. Equipped with sound and light alarm
8. When people approach the device, the device can send out an alarm through sound and light, and can also send SMS/phone cloud notifications
9. ABS material protective box, corrosion-resistant, anti-oxidation, waterproof grade IP66
3. Technical parameters
name | Measuring range | Resolution | Accuracy |
Ambient temperature | -50~+100℃ | 0.1℃ | ±0.5℃ |
Relative humidity | 0~100%RH | 0.1% | ±3% RH |
wind direction | 0~360°(16 directions) | 1° | ±5° |
Wind speed | 0~60m/s | 0.1m/s | ±(0.3+0.03V)m/s |
rainfall | ≦4mm/min | 0.2mm | ±0.4mm |
Light intensity | 0-200000Lux | 1Lux | ±2% |
Atmospheric pressure | 10~1100hPa | 0.1hPa | ±0.3hPa |
Soil temperature | -50~+80℃ | 0.1℃ | ±0.5℃ |
Soil moisture | 0~100% | 0.1% | ±3%RH |
carbon dioxide | 0-5000PPM | 1PPM | ±40PPM±3% of reading |
The configuration can be expanded according to user needs: various meteorological element sensors such as sunshine hours, evaporation sensor, dew point temperature sensor, ultraviolet radiation sensor, photosynthetic radiation sensor, etc. An LED display screen (AC power supply) can be installed , the size is adjustable, and the meteorological data collected in real time and other set information can be displayed. |
power supply system | Mains /solar/multi-power supply system optional |
Communication System | RS485, USB, wireless GPRS, Ethernet and other communication methods |
Special bracket | Install protective boxes, sensors, power supplies, communication equipment, etc. |
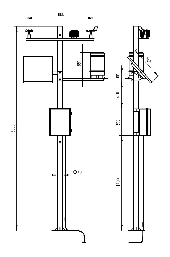
4. Product size diagram

5. Product Structure Diagram

6. Introduction to host computer software
1. PC stand-alone version of data receiving, storage, viewing and analysis software
2. Support serial port data reception, processing and display
3. Support json string, modbus485 and other communication methods
4. The storage time can be set by yourself, and the acquisition time can be set by yourself in modbus485 acquisition mode
5. Support self-service addition, deletion, and modification of monitoring parameter protocols, names, icons, etc.
6. Support data post-processing function
7. Support external running of javascript scripts
7. Android APP Introduction
1. Android stand-alone data receiving, storage, viewing and analysis software
2. Support Bluetooth data reception
3. The software receives and processes the data in the background after the phone goes into sleep mode
4. Automatically add devices with json data, and modbus devices support adding devices by scanning codes
5. Support historical data viewing, analysis, and table export, support curve display, and single data point viewing.
6. Support data post-processing function
7. Support external running of javascript scripts
8. Introduction to Cloud Platform
1. CS architecture software platform, supports direct observation through mobile phones and PC browsers, without the need to install additional software.
2. Support multiple accounts and multiple devices to log in
3. Support real-time data display and historical data display dashboard
4. Cloud servers and cloud data storage are stable, reliable, easy to expand, and load balanced.
5. Support SMS alarm and threshold setting
6. Support map display and view device information.
7. Support data curve analysis
8. Support data export in table format
9. Support data forwarding, HJ-212 protocol, TCP forwarding, http protocol, etc.
10. Support data post-processing function
11. Support external running of javascript scripts
Product address:
http://www.diuzz.com/en/senlin/1168.html